Принцип работы охлаждения
Во время нормальной работы мотора ЯМЗ-238 от МАЗа в системе охлаждения циркуляция жидкости создается за счет работы центробежного насоса. Насос перекачивает охлаждающую жидкость в поперечный канал, а затем она проходит по продольному каналу и попадает в водяную полость цилиндров, расположенных в правом ряду. В остальные цилиндры двигателя жидкость для охлаждения попадает через впускной патрубок. Таким образом удается охладить масло сразу в двух элементах силового агрегата.
Далее антифриз попадает в левый продольно расположенный канал. Чтобы охлаждающая жидкость попадала в жидкостно-масляный теплообменник, инженеры запрессовали заглушку в переднюю крышку шестерен для распределения. Затем антифриз по трубкам попадает в головки цилиндров, охлаждая наиболее нагретую поверхность, такую как выпускные каналы, стаканы форсунок. Затем жидкость сливается в несколько водосборных труб. Во время разогрева только что заведенного двигателя система охлаждения не функционирует.
Движению антифриза препятствуют клапаны термостатов. Жидкость, служащая, чтобы охладить двигатель от перегрева, циркулирует по соединительным трубкам, перепускной трубе через водяной насос. При этом она не попадает в радиатор, благодаря чему силовой агрегат нагревается до рабочей температуры. После того как антифриз нагреется до 80 градусов по Цельсию, клапаны термостатов открываются. Нагретая до нужной температуры жидкость поступает в полости водяного радиатора, где нагревает поток воздуха, поступающего благодаря работе вентилятора. Затем антифриз снова поступает к водяному насосу.
В тот момент, когда температура охлаждающей жидкости снижается, термостаты направляют ее к насосу, минуя радиатор.Таким образом, благодаря блокировкам термостатов в двигателе обеспечивается оптимальный тепловой режим.
Источник статьи: http://pridesaratov.ru/marki/sistema-ohlazhdeniya-dvigatelya-yamz-238.html
- Свежие записи
- Где находится датчик давления масла ЯМЗ 7511?
- Разбираемся в терминах: что означает «банк 1» и «банк 2» в датчике кислорода
- Приора: последствия поломки датчика коленвала
- Что произойдет, если отключить датчик массового расхода воздуха?
- Что произойдет, если не заменить датчик кислорода?
Первое техническое обслуживание двигателя ЯМЗ
При первом техническом обслуживании двигателя ЯМЗ необходимо провести следующие работы:
выполнить все операции, предусмотренные ежедневными техническими обслуживаниями;
осмотреть состояние и проверить наружным осмотром герметичность трубопроводов, агрегатов и приборов систем смазки, питания и охлаждения; при необходимости устранить неисправности;
проверить работу приводов управления подачей топлива и механизма остановки двигателя; все шарнирные соединения приводов смазать дизельным маслом;
промыть фильтр центробежной очистки масла;
наполнить смазкой через пресс-масленку полость подшипников водяного насоса до появления смазки из верхнего контрольного отверстия;
проверить надежность затяжки всех наружных резьбовых соединений, обратив особое внимание на крепление стартера, генератора, впускного и выпускного трубопроводов, подвески двигателя и агрегатов системы питания;
проверить и при необходимости отрегулировать натяжение ремней привода водяного насоса генератора и компрессора;
проверить свободный ход муфты выключения сцепления; если он окажется меньше 1,2 мм, то сцепление следует отрегулировать;
смазать через пресс-масленку муфту выключения сцепления, сделав шприцем 3-4 хода;
смазать валик вилки выключения сцепления через две пресс-масленки, сделав шприцем два хода;
проверить уровень масла в картере коробки передач, отвернув контрольную пробку; уровень масла должен быть несколько выше нижней кромки отверстия под пробку. Дополнительно через одно-два первых технических обслуживаниях (каждые 100-150 часов работы двигателя) выполнить следующие работы:
заменить масло в системе смазки;
промыть фильтр грубой очистки масла;
промыть фильтрующий элемент и масляную ванну воздушного фильтра
В условиях повышенной запыленности воздуха промывку воздушного фильтра производить чаще, исходя из опыта эксплуатации в данных условиях.
Описание силового агрегата ЯМЗ 238
- Серия ЯМЗ238, это семейство новых, четырёхтактных двигателей, которое полностью разрабатывалось отечественными специалистами с чистого листа. Данный двигатель не имеет ни чего общего с предыдущими, двухтактными дизельными моторами.
- Рассматриваемый агрегат имеет V образный восьми цилиндровый БЦ. Угол развала цилиндров, которого 90. Гильзы цилиндров мокрого типа, это значит что рубашка охлаждения, проходит непосредственно вдоль стенок цилиндров. Такая конструкция, обеспечивает более качественное и надёжное охлаждение.
- Ряды цилиндров, по отношению друг к другу, имеют смещение на тридцать пять миллиметров. Такое смещение упрощает конструкцию коленчатого вала, так как позволяет на одну шатунную шейку коленвала устанавливать два шатуна, для разных рядов смежных цилиндров.
- Внутри блока имеются пять опор, они предназначены для коренных шеек коленвала, их диаметр составляет 110 мм. Между опорами и шейками коленвала находятся подшипники скольжения, смазка последних производиться под давлением. Кривошип коленвала обеспечивает длину хода поршня 140 мм. Шатунные шейки меньше коренных, их диаметр равен 88 мм. Шатуны выполнены из специального стального сплава в форме двутавра, их длинна равна 265 мм. Для ШПГ используются алюминиевые поршни высотой 100 мм., и диаметром 130 мм. Поршневой палец имеет диаметр 50 мм.
- Блок картера накрывается 2-мя ГБЦ, выполненными из особо прочного чугуна. Каждая головка имеет 8 клапанов, по 2 клапана на каждый цилиндр. Выпускные клапаны имеют диаметр больший чем выпускные, 61 и 48 мм., соответственно. В работу клапаны приводятся при помощи штанг толкателей, через коромысло. На толкатели непосредственно воздействуют кулачки рапределительного вала. Который разместился в БЦ. Это значит, что двигатель имеет нижние валютную газораспределительную систему. Привод распределительного вала шестерёнчатый, он приводится в работу непосредственно от коленчатого вала.
- Регулировать тепловые зазоры в клапанах необходимо после 500 часов работы. Величина зазора составляет для впуска и выпуска 0,25 и 03 мм соответственно. Регулировку нужно проводить в соответствии с порядком работы цилиндров: 1, 5, 4, 2, 6, 3, 7, 8. Это актуально как для атмосферного, так и для ДВС с турбиной.
- Все двигатели 238 семейства имеют непосредственный впрыск горючего через форсунки 261 или 267. Их давление от 230 до 270 см2/кгс. Для всех видов двигателей, давление масла горячего мотора должно быть на уровне от 4 до 7 см2/кгс. Существует очень похожий мотор ЯМЗ 236, только он имеет на 2 цилиндра меньше, с выпекающимися от сюда последствиями.
Производство 238-й модели продолжается и, в наши дни. Но из-за ужесточения экологических требований их заменяют более чистые моторы ЯМЗ 658 и ЯМЗ 7511.
Кривошипно-шатунный механизм
Палец поршневой азотированный, имеет увеличенный наружный диаметр. Шатун двутаврового сечения, выполненный из стали, конструкция нижней головки сделана с косым разъёмом. Завершающая обработка шатунов происходит после окончательной сборки. Из-за этого крышки шатунов менять местами категорически запрещено. Для нижней головки шатуна предусмотрены подшипники скольжения, они же сменные вкладыши. Для верхней головки предусмотрена втулка диаметром 56 мм. Её изготовляют из сплава бронзы и стали.
Маховики для коленвала на ЯМЗ 238 используются двух видов, в зависимости от марки зубчатого венца. Маховик под маркировкой (К) устанавливают совместно с модулем венца 4.25, а маховик (Н) предназначается для модуля венца 3.75.
Маховик из чугуна, крепиться к коленвалу через пластину из стали высокой прочности. Болты крепления вкручиваются в отверстия пластины, она общая для всех болтов. Коленчатый вал изготавливается из стали особым способом горячей штамповки. После чего все поверхности изделия дополнительно обрабатываются и покрываются азотированным слоем 0.35 миллиметров. Коленвал имеет пять коренных опор и четыре шатунные шейки. На каждую шейку устанавливаются два шатуна для смежных цилиндров из разных рядов. Для уравновешивания коленвала, предусмотрены противовесы и выносные массы на переднем и задним концах вала. Для модификаций 238БЕ и 238ДЕ коленчатый вал снабжён на переднем конце специальным конусом. На нем закрепляются жидкостный гаситель колебаний, ступица и шкив.
Характерные неисправности ЯМЗ 238
Если посмотреть материал об возможных неисправностях рассматриваемого двигателя, то получиться довольно обширный список. Однако изучив внимательное, станет ясно, что несколько признаков неполадок, связаны с выходом из строя одного узла или механизма. Поэтому имеет смысл рассматривать характерные неисправности 238 мотора не по симптомам и признакам, а по слабым местам силового агрегата ЯМЗ 238.
Чаще всего причиной неполадок являются такие системы и механизмы:
Очень часто причиной многих неисправностей может быть
Топливная система:
- в топливной, часто слабым местом оказывается ТНВД. По причине его неправильной регулировки или загрязнения мотор может троить, не развивать обороты, глохнуть, не заводиться, работать с перебоями;
- может произойти разгерметизация топливной системы. В этом случае воздух будит попадать в топливные магистрали, с вытекающими из этого последствиями;
- засорение топливной магистрали или фильтров. Понятно что при этом возникнет недостаток горючего и мотор нормально работать не сможет.
Неисправности газораспределительного механизма.
Этот узел довольно надёжен, проблемы могут возникнуть с нарушением тепловых зазоров клапанов, при этом возникнет стук в двигателе.
Механические повреждения:
- к механическим повреждениям можно отнести износ поршневой группы. Об этом можно узнать по повышенному расходу масла и синему дыму из выхлопной. Нужно отметить, что преждевременный износ возникает по вине водителей, при неправильном обслуживании;
- трещина в ГБЦ или повреждение прокладки случаются на этом двигателе не редко. Узнать об этом можно будит узнать по белому дыму из выхлопной, это признак попадания в топливо охлаждающей жидкости. Проблему решит замена неисправной детали.
Регулировка клапанов
На самом деле слабых мест у 238 не много. К тому же, мотор простой в обслуживании, исправить любую из возникших проблем не составит особого труда. Поэтому не удивительно, что мотор получил такую популярность и завоевал пол мира.
Двигатель ЯМЗ 238
Одним из самых успешных и многочисленных двигателей Ярославского завода по праву считается восьми цилиндровый, четырёхтактный, дизельный, двигатель ЯМЗ 238. Этот мотор заменил, семейство устаревших двухтактных дизельных моторов ЯМЗ, в прежние года ЯАЗ (Ярославский автомобильный завод). Бытует такое мнение, что рассматриваемый здесь мотор был получен путём добавления к шести цилиндровому ЯМЗ 236 двух цилиндров. На самом деле это не так.
Дизельные силовые агрегаты 238 и 236 модели разрабатывались параллельно. Считать, что 238 был получен добавлением двух цилиндров к 236, можно с таким же успехом, как то, что 236 создали путём уменьшения 238 на два цилиндра. Тем более, что оба двигателя, вышли в серийное производства в одном 1962 году. ЯМЗ 238, оказался надёжнее и мощнее, чем его шести цилиндровый товарищ. Один только факт, что двигатель пользуется спросом более 50 лет, говорит о многом.
Надёжную силовую установку использовали на таких видах транспортных средств:
- КрАЗ 6443, 6503, 7140, 6351, 6446, 6505, 260М, 7133, 5133, 6130, 6305, 5444, 6133, 6322.
- МАЗ 5432, 5516, 5552, 5336, 5440, 5551, 6303, 6422, 6430, 6317, 6425.
- МоАЗ 1405, 6442, 740, 6014, 7505, 40489, 40484, 49011.
- Урал 5323, 5557, 4320, 5423.
- ЧЕТРА 60, Т20, Т15, ТГ221.
- ЭО 511, 522, 412, 512.
- РаскатРЭМ25.
- КранэксЕК400.
- ГТ ТМС, ГТ ТМ, МГШ521М1.
- МЛ 107, МТ ЛБ, ТГ 301, ЭСКО БМ 2501, ХТЗ 181, МЗКТ 692378, ЧСДМДЗ-240С.
- Кировец К 700, 703, 744, 702, 740.
- Катера КС 110, 104, 101.
- ДЗ 98В, ДГУ 100, МПГ 6, ВПРС 03, ВПРС 02, АД 100, АДМ 1.5, ВПР 02.
- Комбайны Кубань, Дон, Херсонец.
Нет в наличии:
| № | Код детали | Наименование | Количество на модель, шт. | |
| 236-1011030-Б | Шестерня ведомая нагнетающей секции в сборе | 1 | Нет в наличии | |
| 236-1011040-Б | Шестерня ведущая нагнетающей секции в сборе | 1 | Нет в наличии | |
| 238-1011398-В | Труба всасывающая с заборником в сборе | 1 | Нет в наличии | |
| 238В-1011398-Б3 | Труба всасывающая | 1 | Нет в наличии | |
| 1 | 236-1011217-В2 | Фланец упорный | 1 | Нет в наличии |
| 2 | 236-1011230-А | Шестерня ведомая | 1 | Нет в наличии |
| 7 | 236-1011015-Г | Корпус нагнетающей секции | 1 | Нет в наличии |
| 9 | 310156-П2 | Болт | 2 | Нет в наличии |
| 11 | 236-1011045-Б | Шестерня ведущая нагнетающей секции | 1 | Нет в наличии |
| 12 | 4691183460 | Шарик Б4-100 | 1 | Нет в наличии |
| 15 | 236-1011114 | Шестерня ведомая радиаторной секции | 1 | Нет в наличии |
| 16 | 236-1011100 | Шестерня ведущая радиаторной секции | 1 | Нет в наличии |
| 17 | 236-1011019-В | Корпус радиаторной секции | 1 | Нет в наличии |
| 19 | 200270-П2 | Болт М8х55 | 4 | Нет в наличии |
| 20 | 236-1011365-В | Корпус предохранительного клапана | 1 | Нет в наличии |
| 21 | 236-1011364-Б | Плунжер | 1 | Нет в наличии |
| 23 | 2011458-П29 | Болт | 4 | Нет в наличии |
| 24 | 236-1011368-В | Пружина предохранительного клапана | 1 | Нет в наличии |
| 25 | 312559-П2 | Шайба замковая | 1 | Нет в наличии |
| 26 | 236-1011358-А | Прокладка фланца | 3 | Нет в наличии |
| 27 | 236-1011049 | Проставка | 1 | Нет в наличии |
| 28 | 240-1011057 | Пружина клапана дифференциального | 1 | Нет в наличии |
| 30 | 236-1011025-Б | Ось ведомых шестерен | 1 | Нет в наличии |
| 31 | 236-1011032-Б | Шестерня ведомая нагнетающей секции | 1 | Нет в наличии |
| 33 | 236-1011042-Б | Валик ведущий | 1 | Нет в наличии |
| 35 | 312571-П2 | Шайба замковая | 1 | Нет в наличии |
| 36 | 236-1011058-Б | Пружина клапана | 1 | Нет в наличии |
| 40 | 314612-П29 | Штуцер | 1 | Нет в наличии |
| 43 | 238Ф-1011398-А2 | Труба всасывающая | 1 | Нет в наличии |
| 44 | 204Б-1011300 | Чашка заборника | 1 | Нет в наличии |
| 46 | 252005-П2 | Шайба 8 | 2 | Нет в наличии |
| 47 | 206513-П2 | Болт М8х1х12 | 2 | Нет в наличии |
| 48 | 258254-П29 | Шплинт-проволока | 1 | Нет в наличии |
| 49 | 204А-1011318-Б | Крючок крепления сетки | 1 | Нет в наличии |
| 50 | 238Ф-1011400-В | Труба всасывающая с фланцами | 1 | Нет в наличии |
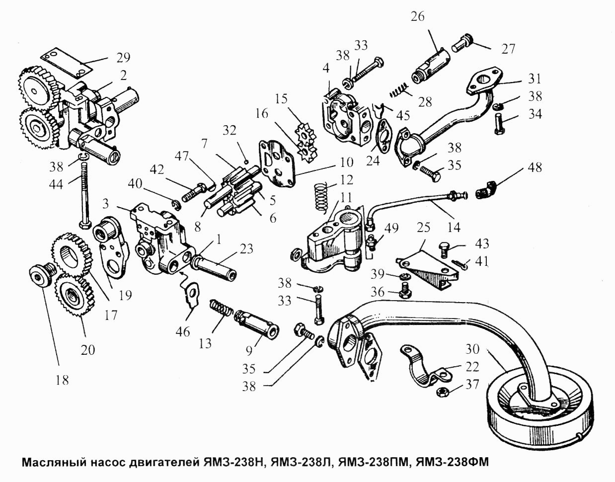
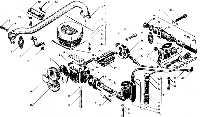
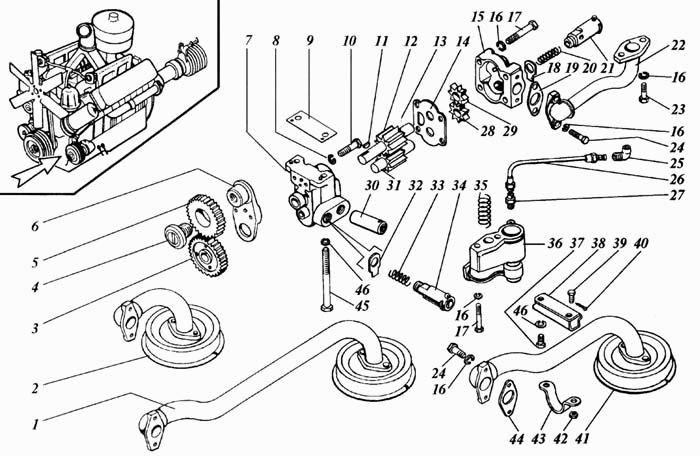
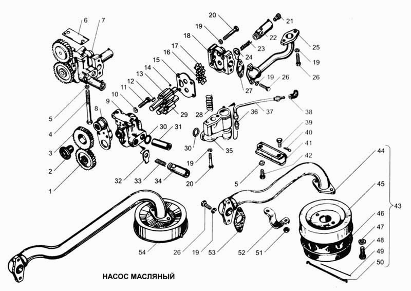
Не можете найти необходимую деталь из группы Масляный насос на ЯМЗ-238Д и Б? Проконсультируйтесь у наших специалистов по телефону 8-800-700-19-88 или по эл. почте Мы обязательно вам поможем!
Система охлаждения компрессора ямз 238 схема подключения
СИСТЕМА ОХЛАЖДЕНИЯ двигателей ЯМЗ-238ПМ и ЯМЗ-238ФМ
Система охлаждения двигателя (рис. 19) жидкостная, закрытого типа, с принудительной циркуляцией охлаждающей жидкости. Она состоит из следующих основных элементов; радиатора, расширительного бачка, водяного насоса
7, вентилятора, термостатов 2 и дистанционного термометра.
При работающем двигателе циркуляция охлаждающей жидкости в системе охлаждения создается центробежным насосом. Насос забирает жидкость из нижнего бачка радиатора и нагнетает ее через каналы в крышке шестеро! распределения в правую и левую водяные рубашки блока цилиндров. Здесь жидкость омывает наружную поверхность гильз цилиндров и, поглощая тепло, нагревается, затем из блока цилиндров поступает в водяные рубашки головок цилиндров и в первую очередь к наиболее нагревающимся местам — выпускным клала нам и стаканам форсунок. Из рубашки охлаждения головок цилиндров жидкость поступает в водосборные трубопроводы, а из них через проходы в термостатах в радиатор, где отдает тепло потоку воздуха, создаваемому вентилятором. Охлажденная в радиаторе жидкость вновь поступает к водяному насосу.
Водяной насос (рис. 20). Лопастный, центробежного типа. Для предотвращения попадании жидкости в полость со смазкой устанавливают манжету 8 из маслобензостойкой резины, которая обоймами прижимается к валу, а пружиной к текстолитовому упорному кольцу 6.
Радиатор. Трубчато-ленточный (змейковый) с трубками овального сечения, трехрядный, устанавливается на раму через резиновые подушки. На расширительном бачке установлена пробка с паровоздушным клапаном. Выпускной клапан пробки открывается при избыточном давлении 0,5 кгс/см2, что соответствует закипанию воды около 119°С. Впускной клапан пробки открывается при падении давления в системе до 0,01 0,13 кгс/см2.
Термостаты. Служат для ускорения прогрева холодного двигателя и предохранения его от переохлаждения в пути. Когда температура жидкости системы охлаждения снижается до 70 3С, термостаты автоматически направляют весь ее поток непосредственно к водяному насосу по так называемому малому кругу циркуляции, минуя радиатор, и тем самым создают благоприятные условия для ее быстрого прогрева.
Шторка радиатора может фиксироваться в любом промежуточном положении и управляется из кабины водителя.
Вентилятор. Шестилопастный, с шестеренным приводом, вращается в кожухе радиатора.

Рис. 19. Схема системы охлаждения 1 — выпуск воздуха при заполнении системы охлаждения во время прогрева пусковым подогревателем; 2 — термостат; 3 — отвод охлаждающей жидкости в 7 радиатор; 4 — трубка перепускная; 5 — подвод жидкости к компрессору пневмотормозов; 6 — подвод охлаждающей жидкости из радиатора; 7 — водяной насос; 8 -отверстие для установки датчика термометра; 9 — отвод горячей воды к отопителю кабины
Рис. 20. Водяной насос: 1 — сальник; 2 — корпус насоса; 3 — втулка; 4 — шпилька крепления подводящего патрубка; 5 — стопорное кольцо сальника: 6 — упорное кольцо сальника; 7 — пружина сальника; 8 — манжета сальника; 9 — крыльчатка; 10 — крышка; 11 — валик; 12 — гайка; 13 — стопорная шайба; 14 — перепускной ниппель трубки водяных термостатов; 15, 16 — шарикоподшипники; 17 — прокладки; 18 — корпус сальника; 19 — втулка сальника; 20 — гайка крепления боковины шкива; 21 — замковая шайба; 22 — гайка; 23 — ступица шкива; 24 — боковина шкива; 25 — регулировочные прокладки; 26 — пресс-масленка
Источник
Выбор насоса для двигателя
Для функционирования системы охлаждения масла в ЯМЗ-238 устанавливают различные водяные насосы, однако надежнее всего оказалось изделие под маркировкой ЯМЗ-236/238. Его параметры идеально подходят для работы мощных силовых агрегатов с таким же буквенным и цифровым индексом.
Такой насос способен перегонять жидкость по системе охлаждения со скоростью около 30 литров в минуту при крутящем моменте вала 0,52 единицы. Вес такого изделия не превышает 9 кг. Габариты насоса могут отличаться в зависимости от типа и мощности двигателя, для которого он предназначен.
Помимо габаритов насосы для нормальной работы системы охлаждения масла в ЯМЗ-238 могут отличаться присоединительными размерами.
Технические данные ЯМЗ 238
Четырёхтактный дизельный двигатель Ярославского завода, по выпуску двигателей ЯМЗ 238, выпускается с 1962 года. Производство в ограниченном количестве ведётся и в наши дни.
- Восемь цилиндров двигателя расположены в два ряда, угол развала между рядами прямой. Материал изготовления БЦ — особо прочный серый чугун.
- ГБЦ тоже выполнена из серого чугуна. Механизм газораспределения верхнеклапанный, с нижним расположением распределительного вала. Клапанов 16, по два на каждый цилиндр.
- Длина хода поршня больше диаметра цилиндра 140 и 130 мм. Двигатели с такими параметрами, не зависимо от типа питания, отличаются высокой отдачей КПД.
- Точный объём ДВС 14866 сантиметров куб. Степень сжатия камеры сгорания 16.5:1.
- Мощность зависит от модификации двигателя и покрывает диапазон от 235 до 330 л., сил. Момент от 882 до 1280 Нм., при 1400 оборотов мин.,
- Европейские экологические нормы: Евро 0, Евро 1, Евро 2. Весит двигатель 1 тона 75 кг.
- На модификации ЯМЗ 238 устанавливались турбины: К36 87, ТКР 122, К27 49, ТКР 11.
- Средний расход горючего для автомобиля Урал 4320 при постоянной скорости 60 км., в час, составляет 38 литров.
- Допустимый расход моторной смазки 0.5 процентов к расходу горючего. Используемое масло для двигателя в летний период М 10Г2к, зимой, при средней температуре ниже чем +5С, нужно заливать М 8Г2к. Объём моторной смазки в модификациях с турбиной 32 литра, в атмосферных моторах 29 литров. Замену следует выполнять после 500 рабочих часов.
- Длина мотора 1315 мм., высота 1070 мм., ширина 1045 мм.
- Заявленный ресурс работы двигателя для тяжёлой техники 8000 часов, для автомобилей 800 тыс., км. В реальности, при качественном обслуживании и адекватной эксплуатации может быть больше.
Операции технического обслуживания двигателя ЯМЗ, не включенные в ТО-1 и ТО-2
Выполнение перечисленных ниже операций рекомендуется проводить при очередном втором техническом обслуживании.
- После каждых 2000 часов работы двигателя снимать для проверки-топливный насос высокого давления и в случае необходимости подрегулировать. На новом двигателе, на который распространяется гарантия завода-изготовителя, первую проверку и подрегулировку насоса производить не ранее, чем по истечении гарантийного срока.
- Через каждые 1000 часов работы двигателя снять стартер с двигателя и провести его техническое обслуживание со смазкой подшипников стартера.
- Через каждые 1500 часов работы двигателя провести техническое обслуживание генератора с заменой смазки в его подшипниках.
- Осенью и весной заливать масло и топливо, соответствующие сезону, снимать для промывки поддон блока цилиндров и сетку заборника масляного насоса и промывать топливный бак.
- При переходе на зимнюю эксплуатацию промыть систему охлаждения, удалить накипь из водяной рубашки двигателя и проверить исправность термостатов.
Горячие Продажи Двигателя Ямз-238
Горячие продажи деталей двигателя ЯМЗ-238
Описание продукта
Горячие продажи деталей двигателя ЯМЗ-238
1) Место оригинала: Хэбэй Китай (материк)
2) Фирменное наименование: Pmparts
3) Рынок: популярен в России, Украине, Белоруссии, Польше и так далее.
4) материал: чугун с шаровидным графитом.
5) технология: все продукты проходят термическую обработку и дробеструйную обработку трижды, минимальная интенсивность QT700-2, большинство из которых превышает QT800-3, выполняет обработку полировки на поверхности.
6) профессиональный производитель
7) Мы можем производить в соответствии с вашими чертежами и образцами. Если вы хотите добавить свой логотип, это тоже нормально.
мы принимаем небольшой заказ
9) выглядим яркими, поверхность: гладкая
10) используется для ЯМЗ-238.
Упаковка и отгрузка
картонные коробки / поддоны / контейнеры отправлять клиентам морским или железнодорожным транспортом
Наши услуги
Устройство механизма газораспределения
Механизм газораспределения ЯМЗ238 представляет собой сложную, чётко настроенную систему, он состоит:
- клапаны с пружинами;
- направляющие втулки с сальниками клапанов;
- распределительный вал, с подшипниками и приводной шестернёй;
- толкатели с-осями;
- коромысла и установленные на них регулировочные винты;
- штанги
Распредвал выполнен из особо прочной штампованной стали. Кулачки и опорные шейки которого, для повышенной прочности закалены токами ВЧ. Он расположен в верхней половине БЦ, в работу приводиться при помощи косозубых шестерён от коленчатого вала. Все другие детали системы газораспределения изготовляются так же из штампованной стали. Клапана сделаны из жаропрочных сплавов. Особо нагруженные фаски клапанов дополнительно наплавляют специальным жаропрочным сплавом (стеллит). Всё это обеспечивает безупречную работу ГРМ на протяжении ресурса эксплуатации ДВС.
Особенности и ремонт рабочего давления в двигателе ЯМЗ 238
Рабочее давление в двигателе ЯМЗ 238 является одним из важных параметров, влияющих на его работу. Правильное поддержание и контроль данного давления позволяет обеспечить оптимальную эксплуатацию двигателя и предотвратить возможные поломки.
Особенности рабочего давления в двигателе ЯМЗ 238:
- Давление масла. Одним из основных параметров рабочего давления является давление масла в двигателе. Оно должно быть поддерживаемо в определенных пределах для обеспечения надлежащего смазывания деталей двигателя. В случае недостаточного давления масла возможно перегревание двигателя и его поломка. При избыточном давлении масла также могут возникнуть проблемы с работой двигателя.
- Давление топлива. Еще одним важным параметром рабочего давления является давление топлива, которое подается в топливную систему двигателя. Правильное давление топлива позволяет обеспечить его достаточное подачу к форсункам и надлежащую работу двигателя. Недостаточное давление топлива может привести к неполному сгоранию и снижению мощности двигателя.
Ремонт рабочего давления в двигателе ЯМЗ 238 может выполняться специалистом в автосервисе или владельцем самостоятельно при наличии соответствующих навыков и инструментов.
Шаги по ремонту рабочего давления в двигателе ЯМЗ 238:
- Диагностика. В первую очередь необходимо провести диагностику и определить причину возникших проблем с рабочим давлением, будь то давление масла или топлива. Для этого могут использоваться специальные диагностические приборы и инструменты.
- Замена деталей. В зависимости от причины проблемы может потребоваться замена некоторых деталей двигателя, отвечающих за поддержание рабочего давления. Это могут быть масляные насосы, форсунки, топливные насосы и другие.
- Настройка. После замены необходимых деталей может потребоваться согласование и настройка рабочего давления. Для этого могут использоваться специальные инструменты и приборы.
Ремонт рабочего давления в двигателе ЯМЗ 238 требует определенных знаний и навыков, поэтому для выполнения данной процедуры рекомендуется обратиться к опытному специалисту в автосервисе.
Важно помнить, что своевременная диагностика и ремонт проблем с рабочим давлением позволят предотвратить серьезные поломки двигателя и продлить его срок службы
238 — Wikipedia, la eniclopedia libre
Википедия todavía no tiene una página llamada «Ямз-238».
Yamz-238
| Wikcionario (diccionario) | |
| Wikilibros (учебные пособия / учебные пособия) | |
| Wikiquote (citas) | |
| Викитека (библиотека) | |
| Wikinoticias (noticias) | |
| Wikiversidad (contenido académico) | |
| Commons (imágenes y multimedia) | |
| Wikiviajes (viajes) | |
| Wikidata (дато) | |
| Викивиды (виды) |
- Comprueba si имеет стандартную форму, правильную форму, правильную форму, википедия, эз луг, и бесплатную информацию.Си-э-э-э-э-э-э-э-э, правильно и правильно, Викимедиа donde quizás podrías encontrarla.
- Busca «Yamz-238» и текст статьи из Википедии и так далее.
- Консультация по художественному оформлению «Ямз-238».
- Busca las páginas de Wikipedia que tienen включает в себя «Ямз-238».
- Si ya habías creado la página con este nombre, limpia la caché de tu navegador.
- También Puede Que La Pagina Que Buscas Haya Sido Borrada.
Si el artículo incluso así no existe:
- Crea el artículo utilizando nuestro asistente o solicita su creación.
- Puedes traducir este artículo de otras Wikipedias.
- En Wikipedia совместимые с текстовые документы, совместимые с лицензией Creative Commons Compartir-Igual 3.0. Нет информации о том, что у кого нет никаких условий для кумплан-альгуна-де-эсас.
- Ten en cuenta también que:
- Статьи об информации и информации serán borrados — версия «Википедия: Эсбосо» -.
- Искусство публикации и автопроизводство serán borrados — версия «Wikipedia: Lo que Wikipedia no es» -.
























