Как исправить ошибку F29 газового котла Vaillant (Вайлант)
При выполнении рекомендаций производителя по монтажу и эксплуатации бытовых отопительных установок они редко выходят из строя. По статистике ремонта часть проблем – следствие неграмотных действий пользователя или влияния внешних факторов. Статья поможет самостоятельно устранить ошибку f29.
Расшифровка кода
Ошибка f29 появляется во время работы Вайлант. Ее путают с 28-й, код которой свидетельствует о неудачных попытках розжига. Сразу же разбираться с котлом, вызывать мастера, если оборудование гарантийное, не стоит. Неисправность – следствие кратковременного перебоя с подачей газа.
Первые шаги
Нажмите кнопку под номером 8 на пульте управления котлом Вайлант
Данный алгоритм действий экономит время на устранение проблемы с отопительным оборудованием. Отрицательный результат – повод искать причину остановки котла Вайлант.
На заметку! В инструкции на газовое оборудование информация по неисправностям скудная. Производитель, учитывая сложность приборов, их опасность в плане воспламенения (взрыва), не рассчитывает на ремонт силами пользователя – только аттестованный мастер. Ряд ошибок котла Вайлант вызываются идентичными факторами.
Что проверить
Газовую магистраль
Блокирование тракта, падение давления вызывают ошибку f29. На объекте с газовой плитой ее можно использовать для проверки системы розжигом всех конфорок. По высоте язычков пламени, их стабильности, цвету несложно определить, поступает по трубе «голубое топливо», не снижено ли давление, не происходит подсос воздуха.
Простая проверка поступления газа
Плита потребляет при розжиге газа больше, чем Вайлант. На практике после ее включения в работу ошибка f29 котла исчезает. Если такое наблюдается, причина – в счетчике. Его механическая часть иногда клинит, а повышенное потребление топлива способствует «срыву»: прибор учета придется менять.
Вероятные причины
Канал притока воздуха
Порядок действий определяется спецификой монтажа отопительной установки.
Коаксиальный дымоход с защитой от внешней средыРекомендация. Если 29-код появляется в периоды смены направления ветра, следует изменить схему прокладки воздуховода: вывести трубу в другом месте, прикрыть оголовок – вариантов много. Главное, чтобы не задувало.
Датчик ионизации
Выдает на модуль управления котла Вайлант сигнал о наличии и устойчивости пламени. В результате частичного загрязнения (нагаром, пылью) электрод теряет чувствительность. Ошибка f29 устраняется очисткой проволочки.
Почистите котел Вайлант
При ремонте котла Вайлант проверяется целостность сигнальных цепей. Жгут разбирается, а по окончании работ стяжка на место не ставится. Возможно, провод датчика ионизации примыкает к металлической детали и при изношенности изоляции периодически замыкает. Отсюда и ошибка f29.
Газовый клапан
Нужно учитывать, что он настраивается по давлению. Поэтому при ошибке f29 никаких разборок арматуры, регулировок не проводится, только чистка. После демонтажа узла котла Вайлант снимается колпачок, закрывающий шток управления заслонкой. Оно электромеханическое, перемещение обеспечивается магнитом. Мельчайшие фракции, забивая щель между ним и прокладкой, препятствуют свободному ходу штока. Чистится и вся полость, куда имеется доступ. Удаление грязи, пыли устраняет ошибку f29.
газовый клапан котла Vaillant
Она вызывается и механическими повреждениями. Типичная неисправность – дефект шестерни редуктора: узел меняется.
Трансформатор розжига
Неудачный запуск котла Вайлант связан с отсутствием искры или ее недостаточной мощностью. Если нет дефектов проводов, мультиметром проверяется обмотка Тр: обрыв – R = ∞, короткое замыкание – R = 0. При межвитковом прибор покажет сопротивление, но при несоответствии значения паспортным данным искра получается слабая, недостаточная для розжига горелки. Ошибка f29 устраняется заменой трансформатора.
Сгоревший электрод розжига котла Vaillant
Плата управления
Самостоятельный ремонт под силу пользователю с профильным образованием, но на это уйдет время. Ошибка f29 устраняется заменой узла котла Вайлант.
Другие неисправности и способы их устранения
Помните, что исправить ситуацию и вернуть рабочее состояние оборудованию можно только при наличии соответствующего опыта, знаний и запасных частей. Если не обладаете ни тем, ни другим лучше обратиться в сервисную службу и дождаться прибытия мастера. Неправильные действия не только не принесут необходимого эффекта, но и могут спровоцировать поломку и выход из строя других узлов и агрегатов котла.
Почему падает давление
Если не получается поднять давление, то проблема заключается в утечке теплоносителя. Она может быть как в самом котле, так и в отопительной системе. При наружном расположении труб и радиаторов поиск места протечки найти просто. Гораздо сложнее, если котел подключен к системе теплого пола.

Другой вариант может заключаться в неисправности клапана сброса. Если упало давление, советуем проверить узел, и удостовериться в работоспособности.
Растет давление
Причиной увеличения давления может быть открытый кран подпитки. Выяснить правильность предположения довольно просто. Постоянная подпитка понижает нагрев теплоносителя и является причиной падения температуры на выходе.
При такой ситуации должно произойти срабатывание клапана, который стравливает излишки ОВ в канализационную систему. Закипание теплообменника и резкое увеличение объема может стать причиной роста давления.
Для восстановления работоспособности оборудования рекомендуется провести сброс настроек до заводского уровня.
Не перезапускается
На самом деле причин, по которым котел отказывается перезапускаться довольно много. Рассказать обо всех не получится. Возникшая неполадка блокирует оборудование, и до ее устранения перезапуск не осуществится.
Но существуют некоторые моменты, о которых следует знать. Газовые котлы Vaillant зависят от правильной подачи фазы и нуля. Для исправления ситуации можно попробовать просто перевернуть вилку в розетке. Другой причиной отказа может быть засорение форсунок. Образовавшийся нагар не позволяет проходить требуемому количеству газа, и оборудование блокируется.
Почему газовые конденсационные котлы Вайлант сильно дымят
Стоит отметить, что дым из трубы является водяным паром. При нормальной настройке котла Vaillant такое явление не должно происходить. Но если такая ситуация возникла, то это может означать, что конденсация паров работает неправильно, пар не успевает осесть на стенках камеры.

Для решения вопроса следует снизить температуру в обратной линии. Это позволит увеличить разницу между температурой пара и камерой. Такое увеличение повысит эффективность процесса, и приведет к уменьшению пара в выводимых газах.
Как запустить самодиагностику
Система самодиагностики – это комплекс датчиков. Стоит учитывать, что они работают постоянно и отслеживают подключенные элементы. По этой причине принудительный запуск проверки не требуется. После запуска котла система диагностики активируется и при возникновении неисправностей Vaillant немедленно сигнализирует о проблемы, отображая на экране соответствующий код ошибки.
Безопасность котлов Вайлант
Каждый котел производства Вайлант оборудуется тремя датчиками безопасности. А некоторые модели имеют даже больше датчиков.
- Первый – датчик пламени. Как только газ тухнет в котле, газ моментально перекрывается.
- Второй датчик – отвод газа. Контроль за безопасным выходом газа и отводом продуктов сгорания.
- Третий датчик – температурный. Данный датчик не дает перегреваться всем элементам котла.
Безопасность – это главное преимущество котлов линейки Вайлант. Система управления котлом не позволяет его использовать при малейших неисправностях. Все установленные датчики следят за работой устройства и не дают ему изнашиваться раньше времени.
Определитесь, какой вид котла вам нужен – настенный или напольный. Напольный очень требователен к месту расположения и технике безопасности
Рассчитайте мощность потребления, котел не должен работать на пределе возможностей, берите с запасомОриентируйтесь на качество воды в вашем регионе. От неё зависит срок службы материалов, из которых сделан котел.
Выбирая котел стоит учесть качество воды в вашем регионе, т.к. от нее зависит время службы устройства
Возникновение ошибки F28 на Vaillant Atmotec Pro: причины и решения
Ошибка F28 на котле Vaillant Atmotec Pro чаще всего указывает на проблемы с подачей газа или на проблемы с зажиганием. Если вы столкнулись с этой ошибкой, есть несколько вариантов ее возникновения и способы решения проблемы.
Причины возникновения ошибки F28
- Неправильная подача газа. Ошибка F28 может возникнуть из-за недостаточного давления газа в системе. В этом случае возможны проблемы с газовым краном, поэтому необходимо проверить его наличие и правильность работы.
- Засорение газовых форсунок. В некоторых случаях причиной ошибки F28 может быть засорение или блокировка газовых форсунок. В этом случае необходимо очистить форсунки от возможных отложений или заменить их, если они повреждены.
- Проблемы с зажиганием. Ошибка F28 также может указывать на проблемы с зажиганием газа. Это может быть связано с неисправностью электродов зажигания или неправильной работой ионизационного электрода.
Решение проблемы с ошибкой F28
Для решения ошибки F28 на Vaillant Atmotec Pro можно использовать следующие методы:
- Проверьте давление газа в системе. Убедитесь, что давление газа соответствует требованиям производителя. Если давление низкое, обратитесь к специалисту для проверки и регулировки газового крана.
- Очистите газовые форсунки от возможных отложений. Внимательно удалите все загрязнения с форсунок с помощью кисточки или воздушного компрессора. Если форсунки повреждены, необходимо заменить их.
- Проверьте состояние и правильность работы электродов зажигания. Убедитесь, что электроды не повреждены и находятся в правильном положении. Если необходимо, очистите их от возможных отложений.
- Проверьте работу ионизационного электрода. Обратитесь к специалисту, чтобы проверить электрод на работоспособность и правильность его установки.
Если проблема с ошибкой F28 не устраняется после выполнения вышеперечисленных действий, рекомендуется обратиться к профессиональному сервисному центру для диагностики и ремонта котла Vaillant Atmotec Pro.
Что вызывает аварийную остановку
Дымоход
-
Засорение канала, блокировка – с этим часто связана ошибка f36 котла Вайлант. Лед на внутренних стенках и оголовке, слой пыли, мусор, паутина на решетке фильтра – тяга снижается, отопительный агрегат блокируется по сигналу аварии.
-
Неграмотный проект, нарушения правил монтажа. Производитель дает исчерпывающие рекомендации по обустройству дымохода для котла Вайлант: сечение трубы, длина трассы и вертикального участка, возвышение над кровлей, уклон и ряд иных. Несоответствие одного из параметров негативно отражается на тяге, инициирует блокировку работы агрегата с ошибкой f36. В процессе эксплуатации просчеты проявляются при смене направления ветра, сильных порывах (опрокидывание тяги – котел «задувает»), осадках (жидкость переливается из системы водостока в трубу дымохода).
-
В канале не установлен конденсатосборник или неправильно выбрано место для накопителя.
-
Вытяжка рассчитывается исходя из характеристик отопительного агрегата, мощности. Собственники, подключающие с целью экономии Вайлант к дымоходу, ранее смонтированному для другого котла, часто сталкиваются с ошибкой f36. О возможных неполадках предупреждает и производитель – только воздухопровод/газоотвод торговой марки Vaillant (инструкция, раздел 5.5).
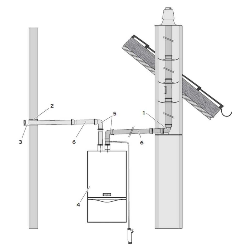
Подача дутьевого воздуха к котлу vaillant через наружную стену
-
Нарушение герметичности. Ненадежные стыки колен, подсос воздуха ухудшают тягу.
-
Повреждение (отсутствие) термоизоляции. Падение температуры снижает скорость протока летучих продуктов горения по каналу – причина ошибки f36. Убирается утеплением дымохода.
Советы
-
В интернете много рекомендаций по решению проблемы с кодом 36 котла Вайлант. Одни полезные, а некоторые попросту вредные. Кое-кто из «знатоков» подсказывает, как убрать ошибку f36: заменить термодатчик с пределом срабатывания t = 65 С аналогичным прибором, рассчитанным на 95 (значения температуры указывается на корпусе). Непрофессиональное вмешательство в конструкцию котла Вайлант запрещено! Речь идет об отведении из помещения угарного газа. К чему приводит его накопление в комнате из-за задержки срабатывания термостата, объяснять не нужно.
-
Снижение тяги атмосферного котла вызывается работающим поблизости от него вытяжным устройством. Технические средства этой категории использовать рядом с агрегатами серии Atmo запрещается.
Нарушение рекомендаций по монтажу агрегата
В инструкции изложены требования к помещению и креплению Вайлант. Непрофессиональная установка котла вызывает ошибку f36.
Причины
-
Несоответствие габаритов комнаты мощности Vaillant.
-
Повышенная температура в помещении.
-
Недостаточная естественная вентиляция. Убедиться несложно распахиванием оконных, дверных створок. Дополнительный приток воздуха уберет ошибку f36.
-
Неправильный выбор места. Малый интервал между котлом Вайлант и поверхностями (стенами, полом, потолком), бытовыми приборами, выделяющими тепловую энергию (газовая плита) приводит к перегреву конструктивных элементов. Минимальные расстояния указаны в руководстве. Если не выдержаны, создаются условия для срабатывания термодатчика, высвечивается ошибка f36.
Загрязнение теплообменника
Слой пыли на корпусе прибора, в межреберном пространстве препятствует поступлению воздуха в котел Вайлант из комнаты. Падает тяга, аварийная остановка с ошибкой f36. Убирается чисткой камеры сгорания и поверхности теплообменника.
Снижение скорости циркуляции
Проблема с датчиком
О неисправности прибора (AtmoGuard) информируют другие ошибки, но «поведение» электроники непредсказуемо: всякое бывает. Код 36 вызывается поломкой или неверным срабатыванием датчика тяги. В котлах Вайлант система контроля дымохода устроена «хитро». Отличие от отопительных установок других производителей в том, что за отводом летучих продуктов горения следят 2 сенсора. Их выверенное расположение в канале гарантирует быструю реакцию на малейшее изменение потока.
Датчик тяги котла Vaillant
Одна часть датчика (сенсор) контролирует отходящие в дымоход газы, другая (внешняя) – проникновение их в комнату. Если такое наблюдается, электроника через две минуты отключает подачу «голубого топлива» к горелке. Спустя 15–20 мин (когда сенсор остынет) котел Вайлант автоматически вступает в работу. Блокировка отопительного агрегата с выдачей ошибки f36 происходит при условии, что такая ситуация повторяется еще 2 раза.
В инструкции нет рекомендации по «глубокому» тестированию датчика. Описана лишь методика проверки на срабатывание: перекрыть дымоход, пустить котел Вайлант. Далее наблюдать за действиями электроники: аварийное отключение (2 мин), повторный розжиг (15–20).
Обслуживание и регулярная проверка работоспособности
Для обеспечения надежной работы системы отопления и предотвращения возникновения ошибки F28 на котле Vaillant, необходимо регулярно проводить профилактику и проверку работоспособности. В случае появления ошибки F28 необходимо принять следующие меры:
- Первым делом необходимо отключить котел от электросети и дождаться его полного остывания перед проведением любых манипуляций.
- Проверьте, достаточно ли газа в системе. Убедитесь, что кран газопровода открыт и газ подается в достаточном объеме.
- Проверьте правильность подключения газовой магистрали. Убедитесь, что все газовые соединения плотно закреплены и нет утечек.
- Проверьте, нет ли проблем с подачей газа к котлу. Может быть причиной ошибки F28 недостаточное давление газа или засорение фильтров на газопроводе. Очистите фильтры и убедитесь в нормальном давлении газа.
- Если все проверки не дали результатов, возможно, проблема заключается в неисправности горелки или датчиков. В этом случае рекомендуется обратиться к специалисту для диагностики и ремонта.
Кроме регулярного обслуживания, также необходимо следить за правильной эксплуатацией системы отопления:
Регулярно проверяйте уровень давления в системе отопления и при необходимости доливайте воду.
Не допускайте перегрева котла и системы отопления, следите за температурой.
Обратите внимание на состояние и чистоту фильтров и датчиков. При необходимости очистите или замените их.
Регулярно проводите техническое обслуживание и чистку котла, соблюдая рекомендации производителя.. Правильное обслуживание и регулярная проверка работоспособности котла Vaillant помогут избежать ошибки F28 и обеспечить надежную и безопасную работу вашей системы отопления
Правильное обслуживание и регулярная проверка работоспособности котла Vaillant помогут избежать ошибки F28 и обеспечить надежную и безопасную работу вашей системы отопления.
Ошибка F28 и ее значение
Ошибка F28 является одной из частых проблем, с которой сталкиваются владельцы газовых котлов Vaillant. Эта ошибка указывает на неполадку в системе отопления или в работе котла.
Значение ошибки F28 может быть разным в зависимости от конкретной ситуации. Вот несколько возможных причин, по которым может возникать эта ошибка:
- Недостаток давления в системе отопления: Возможно, у вас недостаточно воды в системе отопления, что приводит к снижению давления. Проверьте давление газа в вашем котле и, при необходимости, добавьте воду.
- Засорение дымохода: Если дымоход забит или загрязнен, это может стать причиной ошибки F28. Проверьте дымоход и, при необходимости, очистите его от накопившейся грязи или других преград.
- Неправильная работа газового клапана: Если газовый клапан не функционирует должным образом, это может вызвать ошибку F28. Проверьте состояние клапана и, при необходимости, продиагностируйте его или замените.
- Проблема с датчиком давления: Поврежденный или неисправный датчик давления также может вызвать ошибку F28. Проверьте этот датчик и, при необходимости, замените его.
В случае появления ошибки F28 на дисплее котла Vaillant, рекомендуется обратиться к профессионалам для диагностики и устранения неисправности. Не рекомендуется пытаться самостоятельно решить проблему, так как это может привести к дополнительным повреждениям или опасности.
Обратитесь к сервисному центру Vaillant или к лицензированному специалисту по обслуживанию газовых котлов для получения квалифицированной помощи. Это поможет вам быстро и безопасно устранить ошибку F28 и восстановить работу вашего котла Vaillant.
Инструкция по эксплуатации
Помните, двухконтурные котлы не могут одновременно отапливать и подогревать воду одновременно. По умолчанию котел настроен на отопление, но стоит открыться крану с горячей водой, котёл переключится на режим подогрева воды. Как только кран закрывается, котел опять включает режим отопления.
Не устанавливайте котел в помещении самостоятельно, лучше пригласите специалистов. В противном случае вы разочаруетесь в работе котла, появятся ошибки и неполадки из-за неправильного газо и электроснабжения.
Монтаж котла стоит доверить специалистам
Инструкция по эксплуатации котла Вайлант очень проста, достаточно просто взглянуть на дисплей при возникновении неполадок и расшифровать код ошибки
. Какие-то из них можно исправить самостоятельно, а какие-то требую только руки мастера.
Перед каждым отопительным сезоном не забывайте вызывать мастера, чтобы он проверил котел на работоспособность и герметичность.
Давление в котле следует поддерживать на середине серой полоски датчика, следите, чтобы стрелка не заходила в красную зону пониженного давления.
Управлять давлением котла достаточно просто, но делать это лучше с кем-то. Один человек крутит кран, а второй следит за меняющей положение стрелкой давления.
Для регулировки температуры воды и отопления существуют вентили на панели управления. Причем сама температура всегда высвечивается на дисплее, вы можете увеличить её, а можете уменьшить, повернув кран в нужную сторону.
К тому же на панели есть три лампочки – красная, желтая и зеленая. Зеленая горит по мере использования нагретой воды. Желтая свидетельствует о горении газа, а красная – о неполадках системы.
Помните, что в котел можно заливать только воду.
Котел Vailllant в разрезе
Если вы все-таки оценили свои силы и решили самостоятельно подключить котел, то вот небольшая инструкция (Помните о том, что в этом случае вы теряете заводскую гарантию):
- Согласуйте место установки котла с газораспределеяющей компанией
- Решите, чем вы пропилите отверстие для дымохода в стене, ведь стена достаточно прочная и толстая
- Как только навесите котел на стену, подключите шнур питания, подачу воды и для контура отопления все то же самое
Подключение котла в первый раз осуществляйте только через стабилизатор напряжения. Соблюдайте полярность при подключении.
Что означают коды f5, 5er, f15, f21, f23, f24, f26, f33, s33, f37, f38, f53, f61, f62, f71, f72, Ser
В ходе эксплуатации настенного двухконтурного газового котла могут возникнуть другие ошибки. Они не так сильно распространены, но знать о них нужно.
F5 – Проблема датчика по безопасному выводу продуктов сгорания. 5er – Напоминание о необходимости провести обслуживание горелки. F15 – Замыкание датчика вывода продуктов сгорания. F21 – При аварийном отключении датчика контроля пламени. F23 – Происходит защитное отключение при возникновении большого перепада температур. F24 – Срабатывает защита при резком нарастании температуры. F26 – Газовая арматура в нерабочем состоянии. F33 – Не происходит замыкания контакта в истечение 30 минут в реле давления. S33 – Произошла блокировка оборудования, и аппарат находится в 20-минутном ожидании. F37 – Проблемы в частоте вращения вентилятора. Ошибка актуальна для котла Вайлант Т4 турбо. F38 – Поломка вентилятора и требуется замена. F53 – При возникновении ошибок регулировки сгорания. F61 – При ошибках в управлении газовой арматуры. F62 – При возникновении задержек выключения газовой арматуры. F71 – Сбой датчика температуры в подающей линии. F72 – Сбой датчика температуры подающей или обратной линии. Ser – То же самое, что и 5er.
Не стоит забывать, что котлы Вайлант чувствительны к перепадам электрической сети. Возникает вопрос, что делать и какие действия предпринять. Стабилизаторы напряжения могут решить проблему только частично.

Кроме стабилизации напряжения в устройстве присутствует аккумулятор, который позволит функционировать котлу в случае отключения электричества.
В каждом городе существует несколько специализированных организаций, которые занимаются обслуживанием отопительного оборудования. При обращении в компанию постарайтесь узнать аттестованы ли они на обслуживание газовых котлов Vaillant, и только после утвердительного ответа можно вести разговор и договариваться о вызове мастера. В этом случае можно быть уверенным, что у организации найдутся запчасти для газовых котлов Вайлант.
Мне нравитсяНе нравится
Проверка давления
Это еще одна процедура, которую можно выполнить самостоятельно при возникновении неисправности. Для того чтобы проверить давление, необходимо снять обшивку агрегата. После этого нужно откинуть распределительную коробку и закрыть запорный газовый кран. На следующем этапе производится ослабление уплотнительного винта, расположенного на газовой арматуре. После этого подключается цифровой манометр. Далее можно открыть запорный газовый кран и ввести прибор в эксплуатацию. После этого производится измерение давления. Если данные манипуляции не помогли, то можно попробовать и другие способы.
Ошибка F28 котла Vaillant: как исправить
Если нет желания разбираться в причинах и позволяют финансы, конечно же, можно отнести оборудование в сервисный центр. Однако самоделкины рекомендуют не опускать рук, постараться провести ремонт в домашних условиях.
Обращаю внимание, что речь идет о газовом оборудовании, поэтому необходимо соблюдать меры предосторожности. Агрегат необходимо выключить, чтобы полностью себя обезопасить
Мои действия во время поломки:
- Есть кнопка «снятие сбоя».
- Демонтаж оборудования.
- Проведение диагностики.
- Разбор котла.
Я знаком с устройством газового оборудования и первым делом проверяю электроды. Первая мысль — повредилась проводка. Если наблюдаются оголенные контакты, такую проблему устранить проще всего. Берется паяльная лампа, все становится на свои места. Однако при первом осмотре проблем с проводами не обнаружил, электроды все стоят на местах (по идее электронная плата должна получать сигнал).
Второй момент — это заземление. Оно проверяется при помощи тестера. Самое сложное — это клапан, по инструкции он обязан выдерживать определенное давление. В моем случае он явно барахлил и что делать, даже не догадывался. Решил просто заменить элемент, ошибка ф 28 пропала сама собой.
Осмотр и техническое обслуживание котла
Обслуживание газового котла рекомендуется проводить ежегодно. В основном обслуживание сводится к визуальному осмотру и профилактической очистке основных узлов: теплообменников, камеры сгорания, фильтров грубой очистки и состояния расширительного бака.
Первичный теплообменник чистят снаружи от сажи мягкой щеткой. Щетками с металлической щетиной пользоваться ни в коем случае нельзя, т.к. медные пластины обработаны специальным антикоррозийным покрытием и его повреждение приведет к серьезному сокращению срока службы. Из-за конструктивной особенности первичные теплообменники изнутри в большинстве случаев не поддаются промывке, срок его службы может серьезно уменьшится от применения антифризов или частой подпитки водопроводной водой повышенной жесткости.
Вторичный теплообменник (ГВС) ввиду постоянного прохождения через него воды больше подвержен образованию отложений и накипи, но при этом его можно успешно промывать с определенной периодичностью. Промывают теплообменники специальными установками (бустерами) с использованием специальных промывочных составов. Процесс заключается в длительном (иногда до нескольких часов) перекачивании химических средств, способствующих растворению и вымыванию накипи. Компания valiant рекомендует осуществлять промывку обычной уксусной кислотой.
Расширительный бак предназначается для компенсации теплового расширения системы отопления и также ежегодно подлежит обслуживанию. Оно заключается в измерении его давления. Замер необходимо делать на опорожненном котле и при необходимости накачать до значения статического давления системы (примерно 1-1.2 бара). Если же из контрольного штуцера выходит вода, это говорит о не герметичности мембраны бачка и необходимости его замены.
Рекомендуется устанавливать температуру подачи горячей воды таким образом, чтобы не разбавлять ее холодной водой, тем самым обеспечивая минимальный нагрев. Чем меньше температура горячей воды, тем будет ниже интенсивность образования накипи.
Фильтры грубой очистки представляют собой сеточки, поэтому их обслуживание сводится к извлечению и промывке под струей воды до нужного состояния.
Газовая горелка со временем может засоряться и покрываться налетом от продуктов сгорания, ее очистка, как правило, легко осуществляется с помощью мягкой щетки и пылесоса. Если есть сильные загрязнения, то она легко снимается.
Другие неисправности котла
Если на дисплее высветилась ошибка F0 — проблема с датчиком температуры на подаче теплоносителя. Это может быть связано с поломкой самого датчика, повреждением его кабеля или штекера контакта на электронном блоке. F1 – то же самое, только на обратке.
F10 и 11 соответственно короткое замыкание температурных датчиков подачи и обратки. При срабатывании защиты от перегрева высвечивается F20. Это тоже может быть по причине несправного или неправильно подключенного датчика. Для устранения нужно проверить состояние датчика, кабеля, штекера.
F5 и 6 – повреждения наружного и внутреннего датчиков отходящих газов. Проблема может быть с самим датчиком, с кабелем, из-за неправильного подключения. F9 – отказ вентилятора, поломка реле тяги. Возможная причина – засор дымохода (). 15 и 16 – короткое замыкание внешнего датчика, связано, вероятно, с его поломкой. 13 – короткое замыкание на датчике горячего старта.
F22-24 указывают на недостаток теплоносителя в котле. Ошибка может появиться из-за неисправности датчика давления, при поломках или недостаточной мощности насоса, в случае неправильного подключения датчиков на подаче и обратке, при обрыве кабелей. В результате температура резко повышается, увеличивается вилка между подачей и обраткой.
27 – газовый клапан закрыт, но есть сигнал о наличии пламени. Это может быть связано с повреждением клапана или неисправностью контрольной автоматики. При перебоях в системе газораспределения горелка гаснет в процессе работы – ошибка 29. Она может также высветиться при неправильном заземлении.
33 – реле давления на подаче газа не замыкает контакт в течение получаса. Обычно при этом нет сигнала от реле, либо контакт не размыкается после того, как вентилятор выключен. 36 – отработанные газы поступают в котельную (). Это возможно при засоре приточного канала или дымохода. Котлы Vaillant оснащены двумя газовыми датчиками NTC, они замеряют температуру горения и тяги. Если вилка температур меньше необходимой, возможна 20-минутная остановка котла (S52) или блокировка (F36). После блокировки котел автоматически не стартует, нужно запускать вручную.
61 – нет сигнала на газовый клапан. Бывает при поломке самого клапана или из-за сбоев электроники. 62 – проблемы с отключением газового клапана. Негерметична газовая арматура, сбои электроники.
Ошибки 71 и 72 появляются при неправильных показаниях датчиков подачи и обратки (обычно из-за неисправности датчиков). 73 – заниженные показания датчика давления: возможны короткое замыкание, обрыв или неисправность датчика. 74 – завышенные показания (выше 4,5 бар), причины те же.
Ошибка F75 котла Vaillant – автоматика не фиксирует повышение давления более 50 мбар после пятикратного запуска насоса. Возможно, неисправен сам насос, датчик давления теплоносителя, расширительный бачок (), либо система завоздушена. Низкое давление в системе может быть также из-за недостатка теплоносителя.
Остальные неисправности котла Вайлант связаны с электроникой:
- 49 – низкое напряжение на шине eBUS. Причины – перегрузка шины, короткое замыкание;
- 63 – EEPROM, неисправен электронный блок;
- 64 – неисправна электроника, короткое замыкание датчика на подаче или обратке;
- 65 – перегрев или неисправность электроники;
- 67 – контроль пламени подает сигнал за пределами диапазона (0-5 вольт).
При возникновении проблем с давлением теплоносителя следует убедиться в корректности работы насоса и проверить состояние расширительного бачка (при низком давлении и резких скачках – накачать бачок).
При отказе/некорректной работе электронного оборудования проверяют состояние контактов, параметры электросети, работоспособность стабилизатора.
В случае тревожных сигналов о работе горелки или тяги рекомендуется сначала прочистить дымоход. Нужно также проверить и, при необходимости, почистить конденсатоотводчик: на внутренних стенках скапливается известковый налет.
Видео о самостоятельном обслуживании газового дымоходного котла Vaillant.






















